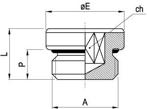
RC320

A
P
L
ЖE
ch
confez.
package
упак.
codice
code
код
M5
4.5
7.2
8
2.5
50
36.643.0
G1/8"
6.5
9.5
14
5
50
36.325.0
G1/4"
8
11.5
17
6
50
36.326.0
G3/8"
9
12.5
20
8
50
36.327.0
G1/2"
10
14
26
10
25
36.328.0