logo RSTC 1/4



pdf


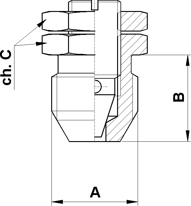
RSTC 1/4


A
G1/4"
B
13.3
C
14



symbol





technical data


Materials
previous page