AX.007.4
Mini oscillating valve 3/2 G1/8"


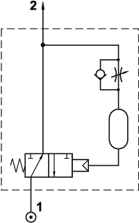
Valve operation
It is a device which, when air is present at port 1, gives as output impulses with variable frequency. The frequency can be regulated by the screw R.
For a correct operation the minimum main pressure must be 3 bar, otherwise the valve can get blocked.
technical data
- Ports: ø4 push-in fittings
- Temperature range: max +60°C
- Working pressure: 3 ... 10 bar
- Time regulation range: 0 ... 10 s
- Fluid: 50µ filtered, lubricated or non lubricated air
Materials
- Body: aluminium 11S
- Seals: NBR
- Springs: stainless steel
- Internal parts: brass OT58
previous page