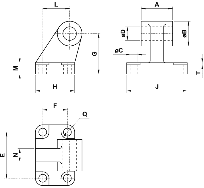
Controcerniera orizzontale a base rettangolare - norma CETOP RP107P 

| part number | for bore | A | B | C | D | E | F | G | H | J | L | M | N | Q | T |
| COIS032 | 32 | 26 | 20 | 6.6 | 10 | 38 | 18 | 32 | 31 | 51 | 21 | 8 | 10 | 11 | 1.6 |
| COIS040 | 40 | 28 | 22 | 6.6 | 12 | 41 | 22 | 36 | 35 | 54 | 24 | 10 | 15 | 11 | 1.6 |
| COIS050 | 50 | 32 | 26 | 9 | 12 | 50 | 30 | 45 | 45 | 65 | 33 | 12 | 16 | 15 | 1.6 |
| COIS063 | 63 | 40 | 30 | 9 | 16 | 52 | 35 | 50 | 50 | 67 | 37 | 14 | 16 | 15 | 1.6 |
| COIS080 | 80 | 50 | 30 | 11 | 16 | 66 | 40 | 63 | 60 | 86 | 47 | 14 | 20 | 18 | 2.5 |
| COIS100 | 100 | 60 | 38 | 11 | 20 | 76 | 50 | 71 | 70 | 96 | 55 | 17 | 20 | 18 | 2.5 |
| COIS125 | 125 | 70 | 45 | 14 | 25 | 94 | 60 | 90 | 90 | 124 | 70 | 20 | 30 | 20 | 3.2 |
| COIS160 | 160 | 90 | 63 | 14 | 30 | 118 | 88 | 115 | 126 | 156 | 97 | 25 | 36 | 20 | 4 |
| COIS200 | 200 | 90 | 63 | 18 | 30 | 122 | 90 | 135 | 130 | 162 | 105 | 30 | 40 | 26 | 4 |
| model |
AUTOCAD ver 14. DWG |
JPG |
ACIS - SAT |
STEP |
|
COIS032 |
|
|
||
| COIS040 |
|
|
||
| COIS050 |
|
|
||
| COIS063 |
|
|
||
| COIS080 |
|
|
||
| COIS100 |
|
|
||
| COIS125 |
|
|
||
| COIS160 |
|
|
||
| COIS200 |
|
|